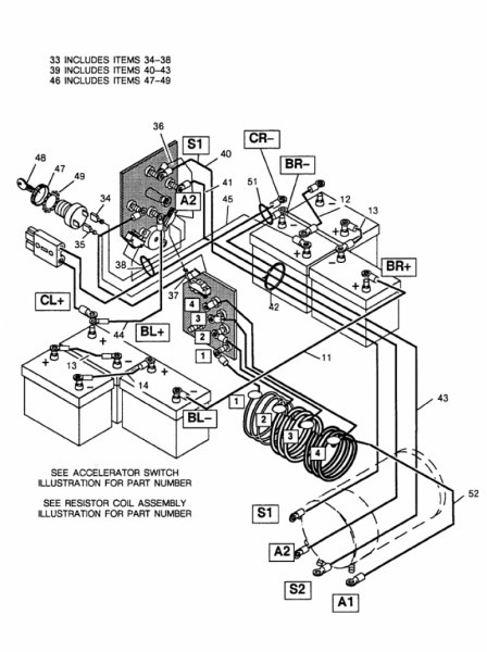
Harley Davidson Gas Golf Cart Wiring Diagram


HTTP://WIRINGSCHEMA.COM
Revision 3.2 (01/2018)
© 2018 HTTP://WIRINGSCHEMA.COM. All Rights Reserved.



























































































Download Full Diagram Via this App!!!!

English product guide

Title : Harley Davidson Gas Golf Cart Wiring Diagram
Category : Wiring Diagram
Format : PDF

Get Diagram Now!

DOWNLOAD NOW